外螺纹球阀(Q21F-16.25.40.64C.P.R)
2、主要零件材料:
|
阀体 |
球体、阀杆 |
手柄 |
密封圈 |
垫片、填料 |
|
A105、45 |
1Cr18/1Cr18Ni9Ti |
不锈钢 |
聚四氟乙烯PTFE
对位聚苯PPL |
聚四氟乙烯PTFE
对位聚苯PPL |
|
1Cr18Ni9Ti |
SS304/1Cr18Ni9Ti |
|
1Cr18Ni12Mo2Ti |
1Cr18Ni12Mo2Ti |
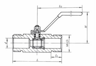
3、产品外形图及主要连接尺寸:

|
公称通径
DN |
连接尺寸(mm) |
重量
(KG) |
|
d |
L |
L1 |
H |
L0 |
M |
|
6 |
8 |
85 |
15 |
38 |
110 |
20×1.5 |
0.4 |
|
10 |
10 |
85 |
16 |
40 |
110 |
24×1.5 |
0.45 |
|
15 |
10 |
85 |
18 |
42 |
110 |
30×2 |
0.5 |
|
20 |
13.5 |
90 |
18 |
68 |
110 |
36×2 |
0.6 |
|
25 |
18 |
100 |
20 |
68 |
110 |
42×2 |
0.9 |
|
32 |
22 |
120 |
20 |
75 |
150 |
52×2 |
1.4 |
|
40 |
26 |
135 |
25 |
83 |
150 |
60×3 |
2.1 |
|
50 |
32.8 |
140 |
25 |
90 |
150 |
72×3 |
2.6 | |