工作原理:JD745X多功能水泵控制阀
当水泵起动起后,水压作用于主阀阀盘下面和控制室下腔,此压力使主阀开启,控制室上腔的水经过调节阀B缓缓排到出口端,主阀缓缓开启。设定调节阀的开度可得到合适地主阀开启速度。当水泵停止工作后,进口端水压迅速下降,在自重、弹簧压力作用下快速关闭大部分开度,防止了水倒流余下的开度由控制室上腔的水压和下腔水压联合作用下缓缓关闭,关闭速度减慢形成了缓冲,防止压力剧增。
设定调节阀A、B的开度和开度比可得到合适的阀门启闭速度。
产品特点:JD745X多功能水泵控制阀
1、防止水锤效果好,将缓开、止回速闭、缓闭等消除水锤的技术一体化,防止开泵不锤和停泵倒流与水锤对供水管路和水泵的损害。 2、操作方便,无需为阀门另配电控系统,阀门随水泵的开启与停止自动并按顺序完成控制功能。通过设定调节阀开度可得到合适的控制参数。 3、阀体采用了全通道、直流式、流线型设计。水力损失小,节能效果好。
主要技术参数:JD745X多功能水泵控制阀
|
公称压(Mpa) |
壳体试验压力(MPa) |
密封试验压力(MPa) |
调压范围(MPa) |
缓闭时间(S) |
最低动作压力(MPa) |
适用介质 |
介质温度(℃) |
|
1.0 |
1.5 |
1.1 |
0.09-0.8 |
3-60 (可调) |
≥0.07 |
水 |
0-80 |
|
|
|
|
|
主要零件材料:JD745X多功能水泵控制阀
|
零件名称 |
零件材料 |
|
阀体 阀盖 |
WCB |
|
阀座 阀盘 |
铜合金/2Cr13 |
|
密封圈 O型圈 |
丁腈橡胶 |
|
阀杆 |
2Cr13 |
|
弹簧 |
50CrVA |
|
缸套 活塞(活塞型) |
2Cr13 |
|
膜片(膜片型) |
夹织物丁腈橡胶 |
|
调节阀 球阀 |
铜合金 |
|
过滤器 |
不锈钢 |
部件列表:JD745X多功能水泵控制阀
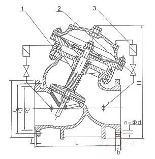
1、主阀2、流量调节阀3、过滤器
主要外形及连接尺寸:JD745X多功能水泵控制阀

|
DN |
L |
H |
D |
D1 |
n-d |
|
1.0MPa |
1.6MPo |
2.5MPa |
1.0MPa |
1.6MPa |
2 5MPa |
1.0MPa |
|
50 |
203 |
293 |
165 |
165 |
165 |
125 |
125 |
125 |
4-18 |
|
65 |
216 |
328 |
185 |
185 |
185 |
145 |
145 |
145 |
4-18 |
|
80 |
248 |
364 |
200 |
200 |
200 |
160 |
160 |
160 |
8-18 |
|
100 |
283 |
418 |
220 |
220 |
235 |
180 |
180 |
190 |
8-18 |
|
125 |
330 |
481 |
250 |
250 |
270 |
210 |
210 |
220 |
8-18 |
|
150 |
356 |
543 |
285 |
285 |
300 |
240 |
240 |
250 |
8-22 |
|
200 |
444 |
673 |
340 |
340 |
360 |
295 |
295 |
310 |
8-22 |
|
250 |
533 |
792 |
395 |
405 |
425 |
350 |
355 |
370 |
12-22 |
|
300 |
600 |
927 |
445 |
460 |
485 |
400 |
410 |
430 |
12-22 |
|
350 |
622 |
957 |
505 |
520 |
555 |
460 |
470 |
490 |
16-22 |
|
400 |
698 |
1188 |
565 |
580 |
620 |
515 |
525 |
550 |
16-26 |
|
450 |
775 |
1218 |
615 |
640 |
670 |
565 |
585 |
600 |
20-26 |
|
500 |
811 |
1256 |
670 |
715 |
730 |
620 |
650 |
660 |
20-26 |
|
600 |
900 |
1600 |
780 |
840 |
|
725 |
770 |
|
20-30 |
|
700 |
980 |
1750 |
895 |
910 |
|
840 |
840 |
|
24-30 |
|
800 |
1120 |
1900 |
1015 |
1025 |
|
950 |
950 |
|
24-33 |
|
900 |
1220 |
2100 |
1115 |
|
|
1050 |
|
|
28-33 |
|
1000 |
1320 |
2400 |
1230 |
|
|
1160 |
|
|
28-36 |
安装示意图:JD745X多功能水泵控制阀
|