一、产品概述: 该系列刀型排渣阀(高抗磨冲渣阀、矿浆阀、冲渣阀、薄型闸板阀)是针对目前国内生产的同类阀门操作不灵活,使用寿命短的缺点,参照国内外同类阀门结构,按照现行国家标准为矿山,火力发电厂设计的,结构形式多样性,选材,用材丰富。该产品具有传统排渣阀的功能,同时也兼具传统刀闸阀结构长度小、重量轻、操作灵活方便的特点。
刀型排渣阀(高抗磨冲渣阀、矿浆阀、冲渣阀、薄型闸板阀)设计制造标准符合DL/T530-94《水力除灰排渣阀技术条件》,该产品适用于公称压力PN1.0~6.4MPa,公称通径DN100~DN800mm的火力发电厂水除灰系统、冶金、工业炼钢、粉尘污水处理、轧钢铁皮污水处理、煤渣、水渣处理和矿山工业选矿的管路上,同时也适用于含渣量比较高的循环水系统,起切断或接通管路中灰水混合物、渣水混合物的作用。目前国内外最先进产品。
二、产品特点:BKPZS、BKPZQ、BKPZD)刀型排渣阀(高抗磨冲渣阀、矿浆阀、冲渣阀、薄型闸板阀
★ 本阀门采用直通式,流体阻力小,操作灵活,开闭省力,适用范围广。
★ 具有独特的自动调心功能,在密封面正常磨损后自动有效的调整楔块的角度,来确保良好的密封性能,从而延长了阀门的维修周期及使用寿命。
★ 闸板采用半密封副强制密封,性能优良。
★ 密封副材料采用堆焊合金钢(阀座堆焊D577,闸板堆焊D507Mo)或硬质合金,耐磨损、耐冲蚀、抗擦伤性能好,摩擦力小,密封可靠。
★ 闸断效果好,能有效的解决含渣及纤维介质闸断后的泄露现象。
★ 阀体出口流道结构合理,不存渣、启闭灵活、不卡阻。
★ 阀杆经调质和表面氮化处理,有良好的耐腐蚀性,抗擦伤性和耐磨性。
★ 启闭灵活。采用滚动推力轴承支承,使操作更为灵活方便。
四、产品性能参数:BKPZS、BKPZQ、BKPZD)刀型排渣阀(高抗磨冲渣阀、矿浆阀、冲渣阀、薄型闸板阀
|
公称压力(Mpa) |
1.0 |
1.6 |
2.5 |
4.0 |
6.4 |
|
公称通径DN(mm) |
DN50-1000 |
DN50-450 |
DN50-300 |
|
压力试验
(Mpa) |
密封试验压力
(Mpa) |
1.1 |
1.76 |
2.75 |
4.4 |
7.04 |
|
壳体试验压力
(Mpa) |
1.5 |
2.4 |
3.75 |
6.0 |
9.6 |
|
适用温度(℃) |
≤200℃ |
|
适用介质 |
渣水混合物
渣水比≤1:1.5
最大粒径≤50mm
灰气混合物 |
|
驱动方式 |
手动、伞齿轮、气动、电动 |
|
连接形式 |
法兰连接、对夹式连接 |
四、主要零件材料:BKPZS、BKPZQ、BKPZD)刀型排渣阀(高抗磨冲渣阀、矿浆阀、冲渣阀、薄型闸板阀
|
零件名称 |
材料 |
|
阀 体 |
WCB+堆硬质合金、Q450、304L、316L、CD4Mcu、CD4MCu、904 |
|
闸 板 |
WCB+堆硬质合金、 |
|
阀 杆 |
2Cr13、304 |
|
垫 片 |
XB450 |
|
填 料 |
柔性石墨 |
|
补偿蝶簧 |
60Si2Mn |
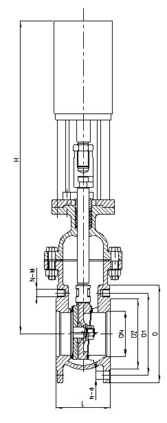
五、产品外观图:BKPZS、BKPZQ、BKPZD)刀型排渣阀(高抗磨冲渣阀、矿浆阀、冲渣阀、薄型闸板阀

手动刀型排渣阀(BKPZS) 伞齿轮刀型排渣阀(BKPZW)
气动刀型排渣阀(BKPZQ) 电动刀型排渣阀(BKPZD)
六、产品执行标准BKPZS、BKPZQ、BKPZD)刀型排渣阀(高抗磨冲渣阀、矿浆阀、冲渣阀、薄型闸板阀
产品设计:DL/T530-94《水力除灰排渣阀技术条件》
法兰连接: GB/T9113
结构长度:GB12221-89
试验标准:GB/T13927—92《通用阀门 压力试验》
七、安装与调试BKPZS、BKPZQ、BKPZD)刀型排渣阀(高抗磨冲渣阀、矿浆阀、冲渣阀、薄型闸板阀
最佳安装方式是安装在水平管道上。
安装前须检查阀腔内和密封面等部位,不允许有污染物或砂粒附着。
用户在安装阀门前必须对阀门型号、连接尺寸及注意介质流向,保证与阀门要求一致性。
配有电装的参照电装说明书调试。
阀门必须定期保养,不得随意碰撞及挤压,以免影响密封。
八、包装运输及其它BKPZS、BKPZQ、BKPZD)刀型排渣阀(高抗磨冲渣阀、矿浆阀、冲渣阀、薄型闸板阀
1.产品出厂时,应检查是否已装有产品说明书,检验合格证及有关附件;
2.合格证应标明出厂时间、检验者、印章等;
3.产品在装卸运输时,应遵守有关规定,以免损坏;
4.用户验收时,应按产品标准规定进行;
5.用户如在使用过程中发现产品出现异常情况,可随时与我方技术部门取得联系,我们将提供最完善的服务。 |