阀体: 公称通径;25-300mm 公称压力:PN1.6, 4.0, 6.4Mpa 连接形式:法兰式按JB/T79.2-94凹或按JB78-5P对夹式 法兰连接 材料:WCB ZG1Gr18Ni9Ti CF3M 填料:V型聚四氟乙烯填料,含浸聚四氟乙烯填料,石棉编织填料。耐高温碳纤维填料 温度:常温:-20℃~+120℃ 散热:+200℃~+450℃ 阀内组件: 阀芯形式:V形缺口半球体 流量特性:等百分比特性。 球体阀杆2Cr13 1Cr18Ni9Ti oCr17Ni12Mo2(316L) 金属阀座材料:与阀杆材料相同,密封堆焊钴铬硬质合金,非金属阀材料,增强聚四氟乙烯。 执行机构: 类型:可选用PSQ系列、DTR、3810系列角行程执行机构。 防爆型选3810系列。
 
V形球阀规格参数表:
公称通径DN |
25 |
32 |
40 |
50 |
65 |
80 |
100 |
125 |
150 |
200 |
250 |
300 |
|
流量系数(Kv) |
25 |
40 |
63 |
100 |
160 |
250 |
350 |
680 |
990 |
1600 |
2500 |
4000 |
|
动作范围 |
0-90° |
|
允许压差△P |
小于公称压力(1.6MPa) |
|
泄漏量Q |
按API598标准测试 无泄漏 |
|
环境温度℃ |
-20~60℃ |
|
基本误差 |
±2% |
|
回差 |
±2% |
|
死区 |
1% |
|
可调范围 |
250:1 |
|
配用执行机构 |
PSQ101, 3810RSA-05DTR-05~10 |
PSQ201381RSC-30DTR-20~30 |
PSQ3013810RSC-50 DTR-40 |
PSQ701DTR-60 |
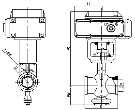
ZAJV电子式电动V型调节阀外形尺寸:
公称通径DN |
L |
DTR |
H2 |
D1 |
Z-d |
|
H1 |
L1 |
|
25 |
102 |
277 |
208 |
60 |
85 |
4-14 |
|
32 |
102 |
295 |
208 |
65 |
100 |
4-18 |
|
40 |
114 |
305 |
208 |
75 |
110 |
4-18 |
|
50 |
124 |
364 |
208 |
95 |
125 |
4-18 |
|
65 |
143 |
379 |
208 |
105 |
145 |
4-18 |
|
80 |
165 |
389 |
256 |
120 |
160 |
8-18 |
|
100 |
194 |
402 |
256 |
140 |
180 |
8-18 |
|
125 |
213 |
426 |
256 |
165 |
210 |
8-18 |
|
150 |
229 |
445 |
256 |
185 |
240 |
8-23 |
|
200 |
243 |
465 |
256 |
205 |
295 |
12-23 |
|
250 |
297 |
610 |
346 |
240 |
355 |
12-25 |
|
300 |
338 |
660 |
346 |
290 |
410 |
12-25 |
型号编制说明:
Z |
D |
J |
V |
9 |
11 |
F |
16 |
P |
G |
|
自控阀门 |
执行机构类型 |
位移特征 |
阀门代号 |
传动形式 |
连接形式 |
密封面材料 |
公称压力 |
阀体材质 |
温度类型 |
|
|
D:表示PS系列 |
J:表示角行程 |
Q:表示球阀 |
9:表示电动 |
41:表示法兰 |
F:表示四氟乙烯 |
16:表示1.6MPa |
C:表示碳钢 |
G:表示中温型常温省略 |
|
|
R:表示3810系列 |
|
D:表示碟阀 |
6:表示气动 |
11:表示丝扣 |
H:表示金属硬密封 |
25:表示2.5MPa |
P:表示不锈钢 |
|
|
|
A:表示DTR系列 |
|
V:表示V形球阀 |
|
71:表示对夹式 |
|
40:表示4.0Mpa |
|
|
|
|
|
|
|
|
|
|
64:表示6.4MPa |
|
| |